种子香蕉视频1024在线干燥机自控温度装置设计
发布时间:2023-03-23 14:03:00 浏览:875次
目前,国内玉米种子包衣前的水分含量为11.5%~12.5%。将收获后的谷物种子干燥至安全水分或包衣前要求的水分,是十分必要的过程。按脱水方式划分,谷物种子香蕉视频1024在线干燥机分为以空气为介质的干燥机、远红外干燥机、高频干燥机、香蕉视频1024在线干燥机等。按种子干燥方法划分,谷物种子干燥机有自然干燥和机械干燥两种。
国内使用的干燥机大多是以空气为介质的机械干燥机,为传统干燥机,其通过加热空气把热量传给谷物,再由空气把谷物蒸发出来的水分带走。加热空气需要一定的温度,这对种子发芽率有直接影响。温度过高会降低种子发芽率,温度过低则生产效率低、作业成本增加,因此,谷物种子干燥机必须具有精确控温功能。目前,谷物种子干燥机上广泛采用的是微电脑全自动控制系统。
1 自控温度装置的工作原理
通过风机作用,在温度过高的热空气中自动掺入外界冷空气,使热空气始终稳定在一定温度,种子接触的热风温度不变,可以达到稳定干燥的效果。在种子干燥机热风室中安装温度传感器 (热电阻PT100),其温度信号输给温控表后,温控表经PID运算后输出控制信号并直接控制电动执行器。电动执行器输出轴通过联轴器连接阀门轴,阀门轴固定有风门板,风门板开启由温度精确控制。一旦温度高于设定值,则风门打开;反之则关闭。
2 自控温度装置的结构组成
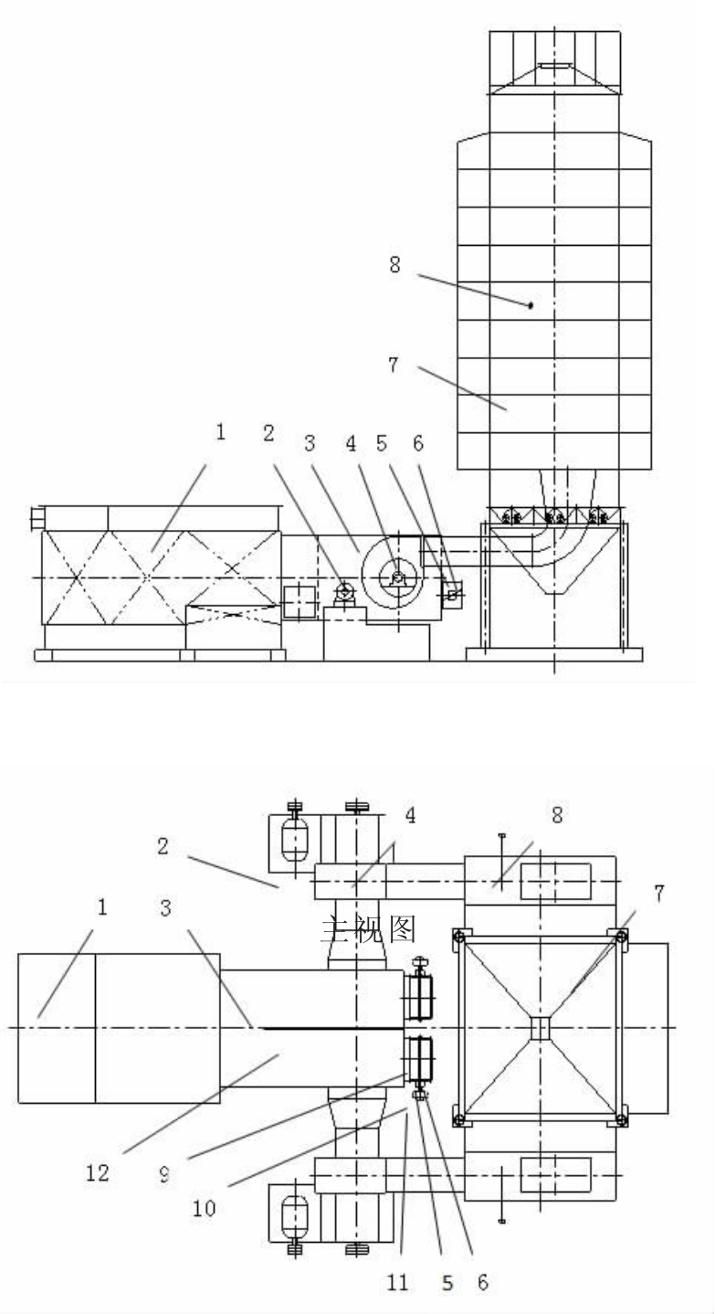
自控温度装置的结构如图1所示。

图1 自控温度装置的结构组成
Figure 1 Structural composition of automatic control temperature device
1.热交换器;2.电机;3.混合室;4.主风机;5.调风筒;6.风门板;7.种子干燥机;8.温度传感器;9.阀门轴;10.联轴器;11.电动执行器;俯12视.混图合室中间隔板
该装置主要由热交换器、电机、混合室、主风机、调风筒(内含阀门轴和风门板)、种子香蕉视频1024在线干燥机、温度传感器(热电阻PT100)、温控表、电动执行器、联轴器等组成。热交换器用于把外界的冷空气介质交换成热空气。主风机把热空气吸入混合室,再把热空气从风机出口压入种子香蕉视频1024在线干燥机并穿透种子层,达到干燥目的。混合室中间有隔板,隔板两侧各固定一个调风筒。混合室内是负压,当调风筒风门板打开时,外界冷空气自动进入混合室与热空气混合,从而降低热空气温度,热风温度恒定。
3 自控温度装置的工作过程
1)各个部件运转平稳、可靠。
2)确保电源线、信号线接线正确。
3)设置温控表参数。温控表设定值SV设定为43℃(国家标准要求),报警1(AL1)设定为42℃,阀位显示值OV显示为0时风门板处于关闭状态。按温控表说明书确定输入输出类型代码,输入代码为in 01E1(01表示平滑滤波系数,在00-04之间选择;E1表示输入信号热电阻PT100,量程范围-50.0~600.0℃),输出代码为ot 0019(其中,第1位“0”表示风门板反作用,即温度高于设定值时打开;第二位“0”表示报警2方式代码是无报警;“1”表示报警1代码的上限报警即温度高于设定值时报警;“9”表示继电器直接控制电动执行器)。
4)工作状态。工作准备就绪后开始烘干,温控表测量值PV显示温度传感器(热电阻PT100)的实际测量温度,它随着炉温的上升而增加。当温度达到报警1(AL1)设定值42℃时,报警装置开始报警,提醒司炉工注意操作;当温度接近设定值SV设定的温度43℃时,风门板打开,外界冷空气进入混合室,从而降低热空气温度,此时温控表阀位显示值OV在0和100之间变动,风门板全开时显示100。
种子香蕉视频1024在线干燥机主要依靠风量和温度干燥种子,在风量一定的情况下,稳定的热风温度至关重要。谷物种子干燥实践表明,此自控温度装置能够热风温度基本稳定,避免因炉温波动影响热风温度以及操作人员误操作导致的热风温度过高,减少干燥对种子发芽率的影响。自控温度装置结构简单,操作方便,实用性强。
济南香蕉在线观看视频机械设备有限公司
济南香蕉在线观看视频机械设备有限公司